
¿Salvará el hidrógeno al motor V8 del Ford Mustang?
El Ford Mustang, tal y como lo conocemos, es un coche en peligro de extinción. Eso lo dejamos claro cuando lo probamos hace unos meses, haciendo referencia a su mecánica de gasolina de gran cilindrada y sin electrificar, teniendo en cuenta la estricta normativa de emisiones. Sin embargo, podría haber una solución para que pueda sobrevivir más tiempo. Ha aparecido una patente que podría hacer realidad un motor V8 de hidrógeno y permitiría mantener la tradición de una forma no demasiado intrusiva.
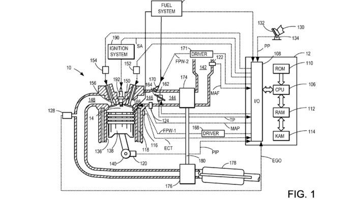
No estamos hablando de un eléctrico de pila de combustible, que es la solución habitual con este tipo de combustible. En ese caso, la pila actúa como generador de energía que va a la batería gracias al hidrógeno y al proceso de electrolisis, pero lo que mueve las ruedas es el motor eléctrico. Pero, en este caso, hablamos de una mecánica de combustión con inyección directa de hidrógeno, que haría de sustituto directo de la gasolina, gracias a un sistema bastante novedoso.

Actualmente, Toyota también está trabajando en una solución similar, aunque con mecánicas de menor tamaño. En el caso de este bloque de Ford, hay que decir que se trata de un motor turbo con un sistema de control independiente entre el aire y el hidrógeno, que es capaz de gestionar la mezcla en función de la demanda de potencia. Éste combustible es conocido por su sensibilidad y facilidad de detonación, es decir, que requiere un control más preciso y una mezcla más rica de aire que del combustible.
En la patente registrada en Estados Unidos se habla de la importancia de la recirculación de gases de escape (EGR), que sería variable y conseguiría controlar el flujo del aire. Además de abrir paso al aire a la cámara, también sería capaz de reducir la temperatura de combustión cuando se necesita más potencia, con la finalidad de que no sucedan las explosiones tempranas del hidrógeno.
Lo cierto es que la patente de Ford no muestra el motor entero ni su funcionamiento al completo, se centra en un cilindro y cómo se haría la combustión, esa mezcla del aire con el hidrógeno. Sin embargo, es una tecnología muy aprovechable que podría dar lugar a una familia completa de motores de combustión interna de hidrógeno, entre los que estaría ese soñado V8 que tantas alegrías ha dado a la marca del óvalo.
Noticias relacionadas

Renault y Ford protagonizan la última alianza en el sector con un objetivo: llenar Europa de eléctricos

El Ford Focus finaliza su producción, ¿por qué quitar otra joya a la corona?

Ford Mustang Mach-E GT California Special, tradición deportiva, diseño exclusivo y más

Esta pila de combustible de 200 kW es lo que el transporte pesado estaba esperando
¿Te ha gustado esta prueba?
Subscríbete y no te pierdas las últimas novedades cada semana



